Parts Breakdown |
TW-5
| Part Number | Description | Quantity | |
|---|---|---|---|
| 1 | 020-062 | TW-5 Frame Weldment | 1 |
| 2 | 093-103 | 5" x 24" Cylinder (Fig 1) | 1 |
| 3 | 023-019 | 24" Log Cradle | 1 |
| 4 | LS10-021-A | Hydraulic Log Lift Kit (Fig 2) | 1 |
| 5 | 021-010 | Leg | 1 |
| 5a | 063-001 | TW-5 Leg Pin | 1 |
| 6 | 082-100-A | 4 Bolt Hub (Fig 3) | 2 |
| 7 | 90000-00004 | 12" Tire | 2 |
| 8 | 063-016 | Hitch Weldment | 1 |
| 9 | 90000-00006 | 2" Ball Coupler | 1 |
| 10 | 094-119 | TW-5 Tank (Fig 4) | 1 |
| 11 | 063-005 | Splitter Jack | 1 |
| 12 | 50000-10025 | Valve Assembly (Fig 5) | 1 |
| 13 | 040-108-A | Motor Assembly (Fig 6) | 1 |
| 14 | R-9010-0010 | Wear Plates | 2 |
| 15 | R-9010-0006 | TW-5 Push Block | 1 |
| 16 | R-50000-30005 | Wedge Lift Cylinder (Fig 7) | 1 |
| 16a | 083-001 | Wedge Lift Cylinder Pin | 1 |
| 17 | 3/8-16 x 2" Long Grade 8 | 10 | |
| 18 | 3/8 Lock Washer Grade 5 | 10 | |
| 19 | 3/8-16 Nut Grade 8 | 10 | |
| 20 | 1/2-13 x 1 1/4 Long Grade 5 Bolt | 4 | |
| 21 | 1/2 Lock Washer Grade 5 | 4 | |
| 22 | 7/16-14 x 3 Bolts Grade 5 | 2 | |
| 23 | 7/16 Lock Washer Grade 5 | 2 | |
| 24 | 7/16 Nuts Grade 5 | 2 | |
| 9a | 063-003 | Ball Coupler Pin | 1 |
Figure 1 | Cylinder
| Part Number | Description | Quantity | |
|---|---|---|---|
| 1 | 093-103 | 5" x 24" Cylinder | 1 |
| 2 | 102-091 | 1/2" 90 Deg Swivel | 2 |
| 3 | 093-035 | 1 1/4" Pins | 2 |
| 4 | 102-027 | 3/4" Branch Tee | 1 |
| 5 | 083-131 | 1 1/4" Front Pin | 1 |
| 6 | 083-132 | 1 1/4" Back Pin | 1 |
Figure 2 | Hydraulic Log Lift
| Part Number | Description | Quantity | |
|---|---|---|---|
| 1 | 9010-0019 | 24" Log Lift | 1 |
| 2 | R-9010-0062 | Bolt On Beam Bracket | 1 |
| 3 | 901-035 | 2" x 6" Log Lift Cylinder | 1 |
| 4 | 102-090 | 1/2 MB x 1/2 NPT Adapter | 2 |
| 5 | 094-116 | Flow Restrictor | 2 |
| 6 | 102-021 | 1/2 NPT x 1/4 NPT Straight Swivel | 2 |
| 7 | 083-001 | 1" Cylinder Pin | 2 |
| 8 | 083-007 | 5/8 Log Lift Pin | 2 |
| 9 | 5/32 x 2" Cotter Pin | 6 | |
Figure 3 | 4 Bolt Hub
| Part Number | Description | Quantity | |
|---|---|---|---|
| 1 | 065-003 | Dust Cap | 1 |
| 2 | Cotter Pin | 1 | |
| 3 | 062-022 | 1" Castle Nut | 1 |
| 4 | 082-101 | Wheel Bearings | 2 |
| 5 | Lug Nuts | 4 | |
| 6 | 082-100 | 4 Bolt Hub | 1 |
| 7 | 061-106 | Dust Seal | 2 |
Figure 4 | Tank Assembly
| Part Number | Description | Quantity | |
|---|---|---|---|
| 1 | 094-119 | Tank | 1 |
| 2 | 094-110 | Suction Strainer | 1 |
| 3 | 102-005 | 1 1/4" Street 90 | 1 |
| 4 | 083-124 | 1 1/4" x 1" Bushing | 1 |
| 5 | 102-034 | 1" Hose Barb | 1 |
| 6 | 205-105 | 1/2" Tank Plug | 2 |
| 7 | 102-102 | 1" MB x 1 1/4" Hose Barb | 1 |
| 8 | 20000-20041 | Filter Housing | 1 |
| 9 | 20000-20040 | Intank Filter | 1 |
| 10 | 20000-20042 | Filter Gauge | 1 |
Figure 5 | Valve Assembly
| Part Number | Description | Quantity | |
|---|---|---|---|
| 1 | 104-101 | LS3000 Valve | 1 |
| 2 | 104-118 | 2 Spool Valve | 1 |
| 3 | 102-043 | 3/4" x3 HD Pipe Nipple | 1 |
| 4 | 102-010 | 3/4" 90 Deg Swivel | 4 |
| 5 | 102-037 | 3/4" Male to 1/2" 90 Deg Swivel | 1 |
| 6 | 083-126 | 1/2" MNPT x 1/4" Bushing | 4 |
| 7 | 102-020 | 90 Deg Swivel | 4 |
| 8 | 102-006 | 3/4" Hex Nipple | 1 |
| 9 | 102-104 | King Combo | 1 |
| 10 | 102-039 | 3/4" x 1 1/4 90 Deg Elbow | 1 |
Figure 6 | Motor Assembly
| Part Number | Description | Quantity | |
|---|---|---|---|
| 1 | 040-108 | GX-340 Honda Engine | 1 |
| 2 | 022-001 | Large Pump Bracket | 1 |
| 3 | 075-004 | 1" Love Joy | 1 |
| 4 | 080-001 | Spider | 1 |
| 5 | 075-008 | 5/8" Love Joy | 1 |
| 6 | 091-106 | 22 GPM Pump | 1 |
| 7 | 083-127 | 1" x 3/4" NPT Bushing | 1 |
| 8 | 102-010 | 3/4" 90 Deg Swivel | 1 |
| 9 | 022-068 | Access Cover | 1 |
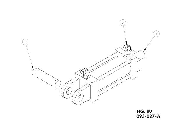
Figure 7 | Wedge Lift Cylinder
| Part Number | Description | Quantity | |
|---|---|---|---|
| 1 | 093-027 | 2" x 4" Cylinder | 1 |
| 2 | 102-094 | 1/2" MB x 1/2 90 Deg Swivel | 2 |
| 3 | 1" x 4" Pin | 1 | |